-
Характеристики
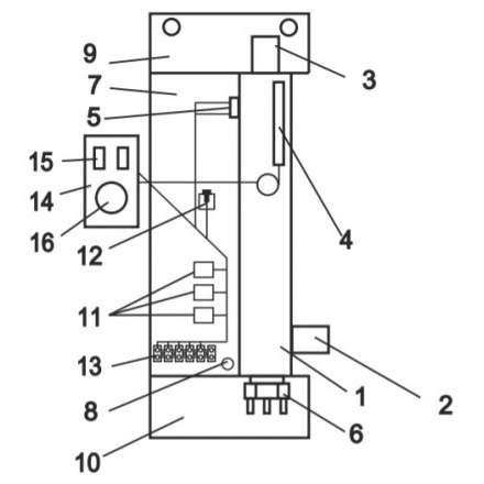
Производитель Эван Площадь обогрева, м² 30 Теплообменник Да Страна Россия Гарантия мес 12 Напряжение В 220 Тип Одноконтурный Установка Настенный Циркуляционный насос нет Расширительный бак нет Стабилизатор напряжения нет Воздушный регулятор нет Микропроцессор да Дисплей нет Нагреваетльный элемент ТЭН Регулировка ТЭНа (мощности) ручная Защита от замерзания есть Защита от перегрева есть Материал теплообменника Сталь -
Описание
Электрический котел ЭВАН Next 3 — это компактное и надёжное решение для обогрева небольших помещений, таких как частные дома и дачи, площадью до 30 м². Данный котел разработан российской компанией Эван, которая известна своим качественным оборудованием для систем отопления. Благодаря компактным размерам и настенному типу установки, ЭВАН Next 3 не занимает много места, что делает его идеальным для небольших жилых помещений.
Основным элементом нагрева является ТЭН, который обеспечивает равномерное распределение тепла по системе отопления. Теплообменник, выполненный из стали, отличается высокой прочностью и устойчивостью к коррозии, что гарантирует долговечность и эффективность работы устройства. Стальной теплообменник способен быстро нагреваться и эффективно передавать тепло в помещение.
ЭВАН Next 3 работает от стандартной сети напряжением 220 В, что делает его подходящим для большинства жилых объектов без необходимости подключения к трёхфазной сети. Управление мощностью ТЭНа осуществляется вручную, что позволяет пользователю самостоятельно регулировать интенсивность работы котла в зависимости от потребностей. Это особенно важно для оптимизации энергопотребления в условиях ограниченного пространства.
Котел оснащён микропроцессором, который обеспечивает автоматическое управление системой и поддержание заданных параметров отопления. Хотя в данной модели нет встроенного дисплея, управление устройством остаётся простым и удобным благодаря продуманной конструкции.
С точки зрения безопасности, ЭВАН Next 3 оснащён системой защиты от перегрева и замерзания, что предотвращает повреждения системы в случае экстремальных температурных условий. Эти функции особенно актуальны для домов и дач, которые могут временно не использоваться в зимний период.
Стоит отметить, что котел не оснащён встроенными циркуляционным насосом, расширительным баком и стабилизатором напряжения. Эти компоненты могут быть установлены отдельно в зависимости от конфигурации вашей системы отопления. Также в данной модели отсутствует воздушный регулятор, но это не снижает её общей эффективности.
Электрический котел ЭВАН Next 3 — это идеальное решение для владельцев небольших домов, дач или квартир, которые нуждаются в компактном и надёжном источнике отопления. Простота эксплуатации, компактность и высокое качество исполнения делают этот котел удобным выбором для комфортного обогрева небольших помещений.
Электрический котел ЭВАН Next 3 купить в Витебске с доставкой и рассрочкой платежа. -
Отзывы
-
Условия доставки и оплаты
Условия доставки Электрический котел ЭВАН Next 3 в Витебск -
С этим товаром покупают
Гарантия и возврат
Амазонка бай реализует более 10 000 товаров надлежащего качества от проверенных поставщиков, зарекомендовавших себя как ТОП-производители. Гарантия производителя распространяется на гарантийный талон либо иной другой документ его заменяющий.
В случае возникновения гарантийного случая необходимо обратиться в сервисный центр или в наш отдел по рекламациям.
Какие гарантийные сроки?
В основном на продукцию распространяется гарантия от 12 месяцев до 25 лет в зависимости от срока, предусмотренного производителем. Данная информация указана в гарантийном талоне либо ином заменяющем его документе.
За более подробной информацией и разъяснениями можете обращаться к нам по телефону +375 (29) 8000 226. Всегда рады помочь!
Какая информация должна быть в гарантийном талоне?
Гарантия содержит информацию:
- дата реализации;
- модель товара;
- серию и номер.
В талоне проставляется штамп торгующей организации и печать ответственного лица.
Легкий возврат товара
Возврат некачественного товара.
Для возврата приобретенного недоброкачественного товара будет необходимо:
- связаться по телефону +375 (29) 8000 226 с отделом по рекламациям, объяснить причину поломки;
- предоставить документы, свидетельствующие о приобретении: кассовый чек, товарный чек, ТН, договор поставки и иные документы, доказывающие факт приобретения данного товара;
- оформление возврата некачественного товара - заявление;
- согласование возврата денежных средств либо замену товара.
Возврат товара надлежащего качества.
В случае возврата доброкачественного товара, потребитель осуществляет возврат в течение 14 календарных дней с момента приобретения. Товар должен быть в заводской упаковке, без повреждений, содержать все сопроводительные документы (гарантийный талон, паспорт изделия и т.д.) и иметь такой же вид, как при покупке.
Обращаем Ваше внимание, что возврат возможен не на все категории товаров. Перечень непродовольственных товаров надлежащего качества, не подлежащих обмену и возврату, утвержден Постановлением Совета Министров Республики Беларусь № 778 от 14.06.2002 года. (Изделия под заказ, отрезные товары)
Остались вопросы? Позвоните нам для уточнения +375 (29) 8000 226.
Простая замена товара
Я могу вернуть доброкачественный товар?
Да. Если Вы приняли решение вернуть качественный товар, такая возможность действует в течение 14 календарных дней со дня приоретения. Внимание! Товар должен иметь продажный вид как при покупке, без следов эксплуатации.
Однако вернуть можно не все покупки. Перечень непродовольственных товаров надлежащего качества, не подлежащих обмену и возврату, утвержден Постановлением Совета Министров Республики Беларусь № 778 от 14.06.2002 года. Обмен и возврат продукции осуществляется на территории продавца.
Как вернуть недоброкачественный товар?
Для возврата товара ненадлежащего качества требуется:
- обратиться к торговой организации;
- предъявить документы, подтверждающие покупку;
- обязательно предоставить заявление на возврат;
- обговорить возврат средств с менеджером.
Необходимо некачественный товар вернуть по месту расположения продавца.
Кредит и рассрочка товара
Порядок действий для рассрочки:
- 1. Клиент выбирает товар в интернет-магазине.
- 2. Определяется и согласовывает с менеджером сроки и условия рассрочки.
- 3. В зависимости от выбранных условий направляется заявка в банк.
- 4. Банк оперативно рассматривает заявку.
- 5. После подтверждения рассрочки доставляем товар покупателю.

* Скидки и акции при рассрочке не действуют

* Скидки и акции при рассрочке не действуют
название | в месяц | итого | |
---|---|---|---|
Карта Черепаха (8 мес.) | 56 | 445 | |
Альфа-рассрочка (5 мес.) | 89 | 445 | |
Халва (4 мес.) | 111 | 445 | |
Легкие покупки (4 мес.) | 111 | 445 | |
Карта покупок (2 мес.) | 223 | 445 |